
0613 凝点测定法
凝点系指一种物质照下述方法测定,由液体凝结为固体时,在短时间内停留不变的最高温度。
某些药品具有确定的凝点,纯度变更,凝点亦随之改变。测定凝点可以区别或检查药品的纯杂程度。
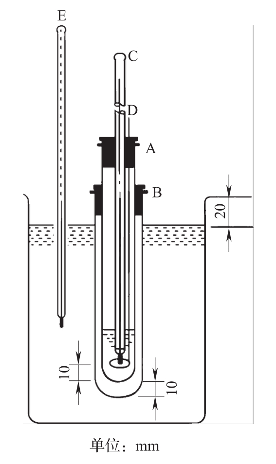
仪器装置 如图1所示。内管A为内径约25mm、长约170mm的干燥试管,用软木塞固定在内径约40mm、长约160mm的外管B中,管底间距约10mm。内管用一软木塞塞住,通过软木塞插入刻度为0.1℃的温度计C与搅拌器D,温度计汞球的末端距内管底约10mm。搅拌器D为玻璃或金属材质,上端略弯,末端先铸一小圈,直径约为18mm,然后弯成直角。内管连同外管垂直固定于盛有水或其他适宜冷却液的1000ml烧杯中,并使冷却液的液面离烧杯口约20mm。温度计E用于控制外烧杯中的水或冷却液温度。

图1 凝点测定仪器装置
测定法 取供试品(如为液体,量取15ml;如为固体,称取15~20g,加微温使供试品熔融),置内管中,使迅速冷却,并测定供试品的近似凝点。再将内管置较近似凝点约高5~10℃的水浴中,使凝结物仅剩极微量未熔融。将仪器按上述装妥,烧杯中加入较供试品近似凝点约低5℃的水或其他适宜的冷却液。用搅拌器不断搅拌供试品,每隔30秒观察温度1次,至液体开始凝结,停止搅拌并每隔5~10秒观察温度1次,至温度计的汞柱在一点能停留约1分钟不变,或微上升至最高温度后停留约1分钟不变,记录温度。连续读数次数应不少于4次,且各次读数范围应小于0.2℃,将该读数的平均值作为供试品的凝点。
【附注】如某些药品在一般冷却条件下不易凝固,需另用少量供试品在较低温度使其凝固后,取少量作为晶种加到供试品中,方能测出其凝点。
(c)蒲标网 - 中国药典、药品标准、法规在线查询 ( 津ICP备15007510号 )